Одноступенчатые червячные редукторы серии 1Ч-63А: характеристики, устройство, принцип работы, стоимость

1Ч-63А
Редуктор червячный одноступенчатый универсальный общемашиностроительного применения типоразмера 1Ч-63А предназначен для изменения крутящих моментов и частоты вращения в качестве комплектующих в приводах машин и механизмов в следующих условиях по ГОСТ 16162-93.

 

Техническое описание

Условия применения

Габаритные и присоединительные размеры

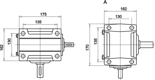
Варианты сборки

Технические характеристики

Масса редуктора, кг

 

Техническое описание

Редукторы изготавливаются только в необдуваемом исполнении (без вентилятора) для эксплуатации с переменной нагрузкой, не превышающей значений, указанных в табл. 1, одного направления или реверсивной при работе в основных повторно-кратковременных режимах с периодическими остановками и продолжительностью включений ПВ < = 40%, частотой включения и остановок в час f < = 60, циклом работы T < = 1 мин, и для эксплуатации с постоянной нагрузкой, не превышающей значений, указанных в табл. 1, одного направления или реверсивной при непрерывном режиме с продолжительностью включения 40% < ПВ <= 100%, циклом работы 1 мин < Т <= 24 ч/сутки.

 

УСЛОВИЯ ПРИМЕНЕНИЯ РЕДУКТОРОВ

  • нагрузка постоянная и переменная одного направления и реверсивная;
  • работа постоянная и с периодическими остановками;
  • вращение валов в любую сторону;
  • температура внешней среды от - 40°С до + 50°С; внешняя среда - неагрессивная, невзрывоопасная.

Одноступенчатые червячные редукторы серии 1Ч-63А

 

 

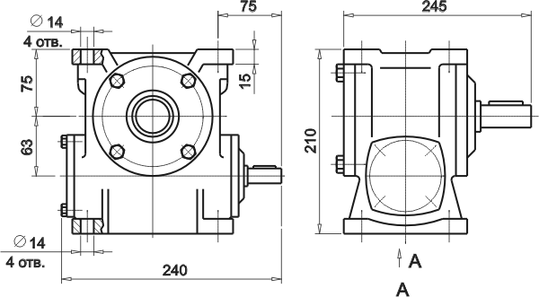
Габаритные и присоединительные размеры

 

Габаритные и присоединительные размеры 1Ч-63А

Габаритные и присоединительные размеры 1Ч-63А

Габаритные и присоединительные размеры 1Ч-63А

 

 

Технические характеристики

 

Частота вращения входного вала, об/мин
Режим работы редуктора
Допускаемый крутящий момент на выходном валу,  Н/м 
при номинальных передаточных числах
8,0
10,0
12,5
16,0
20,0
25,0
31,5
40,0
50,0
63,0
80,0
1500
ПВ>63%
130
130
120
130
130
120
130
130
125
110
105
ПВ=63%
140
125
125
150
132
125
170
160
132
106
100
ПВ=40%
160
132
132
160
140
132
200
170
140
106
100
ПВ=25%
160
140
132
180
140
132
200
180
150
112
106
ПВ=16%
170
150
132
190
150
140
200
190
150
112
106
1000
ПВ>63%
145
145
140
145
145
140
145
145
140
120
115
ПВ=63%
160
140
140
170
150
140
100
180
150
120
110
ПВ=40%
180
150
150
180
160
150
200
190
160
120
110
ПВ=25%
180
160
150
200
160
150
210
200
170
125
120
ПВ=16%
190
170
150
210
170
160
220
210
170
125
120
750
ПВ>63%
160
160
155
160
160
155
160
160
150
135
130
ПВ=63%
180
180
160
190
170
160
220
210
170
130
130
ПВ=40%
210
170
170
210
180
170
240
220
180
130
130
ПВ=25%
210
180
170
240
180
170
250
240
190
140
140
ПВ=16%
220
190
170
250
190
180
260
250
190
140
140


Частота вращения входного вала, об/мин
Коэффициент полезного действия, %
при номинальных передаточных числах
8,0
10,0
12,5
16,0
20,0
25,0
31,5
40,0
50,0
63,0
80,0
1500
89
88
87
84
83
81
74
73
68
62
60
1000
88
87
86
82
81
79
71
69
65
59
57
750
87
86
85
82
80
78
69
67
63
56
54

Допускаемая радиальная консольная нагрузка на выходном валу
при вариантах сборки 51, 52 - 3000 Н при вариантах сборки 53, 56 - 1500 Н

 

Вариант сборки

 

Варианты сборки червячного редуктора

 

 

Масса редуктора, кг

(в зависимости от варианта крепления и сборки)

Вариант крепления
с алюминиевым корпусом
с чугунным корпусом
при вариантах сборки
51; 52
53
56
51; 52
53
56
1
12,0
12,5
11,5
15,5
16,0
15,0
2
12,0
12,5
11,5
14,5
15,0
14,0
3; 4
12,0
12,5
11,5
14,5
15,0
14,0

 

Двухступенчатые цилиндрические редукторы 1Ц2У-100, 1Ц2У-125, 1Ц2У-160, 1Ц2У-200, 1Ц2У-250

Одноступенчатые цилиндрические редукторы серии ЦУ-100, ЦУ-160, ЦУ-200, ЦУ-250

Двухступенчатые цилиндрические редукторы серии 1Ц2У-315Н, 1Ц2У-355Н, 1Ц2У-400Н, 1Ц2Н-450, 1Ц2Н-500

Трехступенчатые цилиндрические редукторы ЦЗУ-160, ЦЗУ-200, ЦЗУ-250

Одноступенчатые червячные редукторы серии 1Ч-63А

Одноступенчатые червячные редукторы Ч-100, Ч-125, Ч-160

Одноступенчатые червячные редукторы 1Ч-160

Двухступенчатые редукторы Ч2-160

Редукторы червячные одноступенчатые 4Ч-80

Одноступенчатые червячные редукторы Ч-80

Одноступенчатые червячные редукторы 2Ч-40, 2Ч-63, 2Ч-80

Цилиндрические соосные мотор-редукторы MTC A

Цилиндрические соосные мотор-редукторы R (RF)

Двухступенчатые мотор-редукторы 4МЦ2С, 4МЦ2С-63, 4МЦ2С-80, 4МЦ2С-100, 4МЦ2С-125

Цилиндрические мотор-редукторы 1МЦ2С, 1МЦ2С-63, 1МЦ2С-80, 1МЦ2С-100, 1МЦ2С-125

Цилиндрические плоские мотор-редукторы серии F

Мотор-редукторы планетарные тип: 3МП-31,5; 3МП-40; 3МП-50; 3МП-63; 3МП-80; 3МП-100; 3МП-125

Мотор-редукторы планетарные двухступенчатые МПО2М-10, МПО2М-15

Мотор-редукторы планетарные одноступенчатые типа МПО1М-10

Мотор-редукторы планетарные МРВ-02 и МРВ-04

Волновые мотор-редукторы ЗМВз

Цилиндро-конические мотор-редукторы K



 
© 2014 Редукторы, мотор-редукторы, устройства плавного пуска, преобразователи частоты